发布时间:2025-01-16 17:06:13 来源:AI视频贴吧
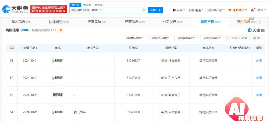
每经AI快讯,天眼查知识产权信息显示,近日,腾讯科技(深圳)有限公司申请注册多枚“腾讯AI助手”商标,国际分类包含社会服务、广告销售、网站服务等,当前商标状态均为等待实质审查。
据悉,今年5月,腾讯发布基于混元大模型的面向C端的ai助手“腾讯元宝”,其提供了AI搜索、AI总结、AI写作等核心能力。

热门推荐
腾讯申请注册腾讯AI助手商标
每经AI快讯,天眼查知识产权信息显示,近日,腾讯科技(深圳)有限公司申请注册多枚“腾讯AI助手”商标,国际分类包含社会服务、广告销售、网站服务等,当前商标状态均为等待实质审查。 据悉,今年5月,腾讯发布基
2025-01-16
AI向技术临界点加速,未来的世界会是什么模样?
在最新出版的《奇点更近》一书中,未来学家库兹韦尔勾勒出一幅壮丽的图景:人类将与人工智能(AI)“融合”,开启奇妙的旅程,包括思维能力爆炸式增长、创造力爆棚,疾病、衰老等一系列愁人的问题也能逐步得到解决
2025-01-16
AI进化撞上“数据墙”?三大模型研发遇阻,巨头纷纷转向新赛道
人工智能(AI)的发展一直建立在这样的信念之上:训练数据规模越大,模型就会越来越好。然而,业界近期曝出了大模型进化遭遇“数据墙”的消息。据外媒报道,OpenAI、谷歌和Anthropic在AI模型开发方面都陷入了瓶颈,
2025-01-16
人工智能社交网络ViVi.AI运营总部落户香港
人工智能多模态社交网络ViVi AI运营总部落户香港仪式15日在港举行,逾百名海内外科技、政商、学术界及创投金融机构人士出席。香港中小上市公司协会主席席春迎致辞时表示,项目选择落户香港,是对香港营商环境以及
2025-01-16
首届中医人工智能高质量发展论坛开幕
11月16日,首届中医人工智能高质量发展论坛在北京开幕。本次论坛由中国中医科学院中医药信息研究所与问止中医人工智能联合实验室共同举办。中国中医科学院中医药信息研究所党委书记王映辉致辞中,既回顾了中医药
2025-01-16